Моторные дроссели

Моторные дроссели устанавливаются в сочетании с электрическими двигателями, что позволяет подавить гармоники высокой частоты в токе электромотора. Дроссель моторный также успешно применяется с целью решения задачи подавления скорости нарастания тока при аварийных ситуациях, компенсации емкостных токов. Полезно иметь в виду, что в качестве моторных можно использовать дроссели, применяющиеся с другими моделями ПЧ, выпускаемыми другими компаниями (отличия приходятся на параметры тока и индуктивность). Но в этом случае важно соблюдать ряд правил:
- Работа в определенном частотном диапазоне;
- Соответствующее напряжение в сети; <li">Невысокая индуктивность может свести эффективность дросселя к нулю. </li">
Цена: от 2 200 руб.
Общее описание
Моторные дроссели обеспечивают:
- Оперативное и своевременное подавление высокочастотных гармоник, образовывающихся в токе электродвигателя. Процесс формирования тока синусоидального вида в обмотках выполняется преобразователем посредством широтно-импульсной модуляции напряжения (положения синусоидального закона). В условиях низких частот ШИМ пульсации высокочастотного уровня моторного тока в ряде случаев достигают отметки в 5-10%. Гармоники тока провоцируют дополнительный нагрев электродвигателя;
- Минимизацию скорости нарастания аварийных токов КЗ, а также способствуют задержке достижения максимального уровня тока короткого замыкания. В результате выделяется определенный временной промежуток, необходимый для активации цепей электронной защиты преобразователя;
- Ограничение токовой амплитуды КЗ. При факте внезапного КЗ на выходе преобразователя частоты ток короткого замыкания нарастает постепенно, то есть не внезапно по причине того, что в контуре тока короткого замыкания присутствуют индуктивности. Как только ток замыкания достигает отметки активации защиты преобразователя, электродвигатель тут же обесточивается. В силу того, что время, за которое срабатывает защита, отличается от нуля, наивысшее значение тока короткого замыкания в условиях применения моторного дросселя в действительности значительно меньше максимальной величины тока без дросселя. Другими словами, без установленного моторного дросселя большинство преобразователей просто не в состоянии обеспечить должный уровень защиты транзисторов преобразователя от одного или нескольких внезапных коротких замыканий на выходе частотника;
- Компенсацию емкостных токов моторных кабелей (в данном случае имеются в виду длинные кабели). То есть моторные дроссели пресекают высокие емкостные токи и, как результат, препятствуют ложным срабатываниям защиты частотника от такого явления, как сверхтоки;
- Снижение выбросов напряжения (явление происходит на обмотках двигателя). В процессе питания асинхронного электродвигателя от ПЧ к обмоткам прикладывается напряжение импульсов, характеризующееся высокими пиками перенапряжений, их общая величина превышает амплитуду показателей номинального напряжения самого электродвигателя. Такое положение может спровоцировать пробой изоляции обмоток, в частности, имеются в виду условия продолжительной эксплуатации оборудования, когда изоляционные свойства проводов и обмоток просто теряются.
|
Наименование |
Номинальный ток, А |
Индуктивность mH |
Мощность подключаемого электровигателя, кВт |
|---|---|---|---|
|
OR 002 |
2,5 |
4.7 |
0,75 |
|
OR 005 |
5 |
2.36 |
1,5 |
|
OR 007 |
7,5 |
1.57 |
2,2 |
|
OR 010 |
10 |
1.18 |
3,7 |
|
OR 015 |
15 |
0.8 |
5,5 |
|
OR 020 |
20 |
0.6 |
7,5 |
|
OR 030 |
30 |
0.4 |
11 |
|
OR 040 |
40 |
0.3 |
15 |
|
OR 050 |
50 |
0.24 |
18,5 |
|
OR 060 |
60 |
0.2 |
22 |
|
OR 076 |
76 |
0.155 |
30 |
|
OR 090 |
90 |
0.13 |
37 |
|
OR 120 |
120 |
0.1 |
45 |
|
OR 150 |
150 |
0.078 |
55 |
|
OR 190 |
190 |
0.062 |
75 |
|
OR 210 |
210 |
0.056 |
90 |
|
OR 250 |
250 |
0.047 |
110 |
|
OR 290 |
290 |
0.040 |
132 |
|
OR 330 |
330 |
0.036 |
160 |

|
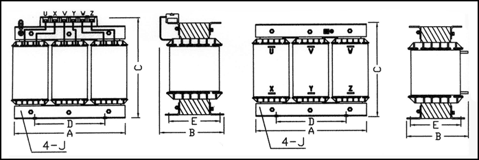
Наименование |
Размеры, мм |
Масса, кг |
|||||
|---|---|---|---|---|---|---|---|
|
A±5 |
B±10 |
C±10 |
D±1 |
E±4 |
J±1 |
||
|
OR 002 |
130 |
90 |
135 |
80 |
70 |
7 |
3,2 |
|
OR 005 |
130 |
90 |
135 |
80 |
70 |
7 |
3,2 |
|
OR 007 |
130 |
90 |
135 |
80 |
70 |
7 |
3,2 |
|
OR 010 |
130 |
95 |
135 |
80 |
70 |
7 |
3,8 |
|
OR 015 |
165 |
105 |
140 |
80 |
75 |
7 |
3,8 |
|
OR 020 |
165 |
110 |
140 |
80 |
75 |
7 |
4,7 |
|
OR 030 |
165 |
115 |
140 |
80 |
75 |
7 |
4,7 |
|
OR 040 |
180 |
130 |
180 |
100 |
85 |
7 |
8,3 |
|
OR 050 |
180 |
130 |
180 |
100 |
85 |
7 |
8,4 |
|
OR 060 |
180 |
135 |
180 |
100 |
85 |
7 |
9,1 |
|
OR 076 |
230 |
160 |
200 |
120 |
105 |
10 |
16,4 |
|
OR 090 |
230 |
165 |
200 |
120 |
105 |
10 |
16,3 |
|
OR 120 |
230 |
175 |
200 |
120 |
105 |
10 |
17,6 |
|
OR 150 |
230 |
175 |
200 |
120 |
105 |
10 |
18,6 |
|
OR 190 |
260 |
190 |
230 |
140 |
115 |
10 |
26,0 |
|
OR 210 |
260 |
195 |
230 |
140 |
115 |
10 |
26,0 |
|
OR 250 |
260 |
200 |
235 |
140 |
115 |
10 |
26,4 |
|
OR 290 |
320 |
225 |
260 |
150 |
135 |
10 |
35,2 |
|
OR 330 |
320 |
230 |
265 |
150 |
135 |
10 |
37,0 |